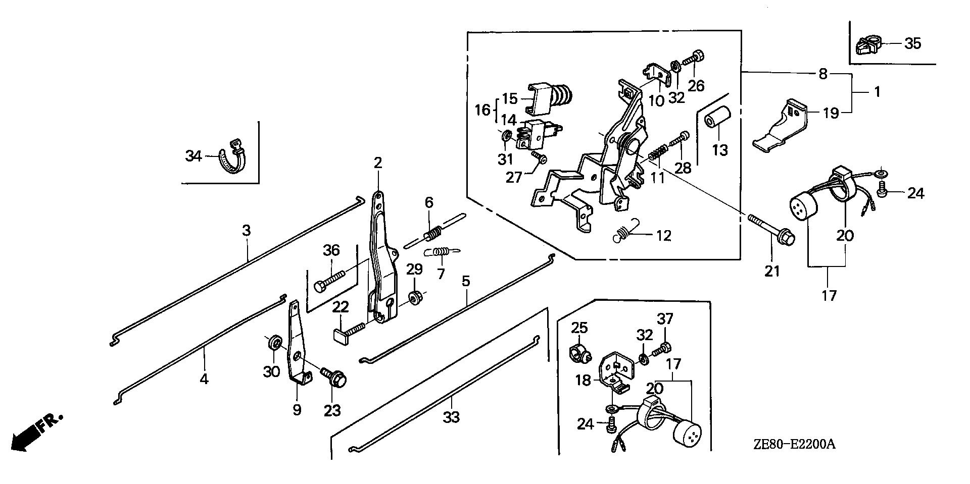
Ref No
Part Number
Description
Serial Range
Qty
Price
Ref No 2
Part Number 16551-ZE8-000
Description ARM, GOVERNOR (NOT AVAILABLE)
Serial Range 1000001 - 9999999
Ref No 3
Part Number 16555-ZE8-000
Description ROD, GOVERNOR (NOT AVAILABLE)
Serial Range 1000001 - 9999999
Qty
Price $3.82
Add To Cart
Ref No 4
Part Number 16556-ZE8-000
Description ROD, CHOKE (NOT AVAILABLE)
Serial Range 1000001 - 9999999
Ref No 5
Part Number 16557-ZE8-000
Description ROD, JOINT
Serial Range 1000001 - 1068440
Qty
Price $4.08
Add To Cart
Ref No 5
Part Number 16557-ZE8-810
Description ROD, JOINT
Serial Range 1068441 - 9999999
Qty
Price $4.08
Add To Cart
Ref No 6
Part Number 16561-ZE8-000
Description SPRING, GOVERNOR
Serial Range 1000001 - 9999999
Qty
Price $4.26
Add To Cart
Ref No 7
Part Number 16563-ZE8-000
Description SPRING, GOVERNOR PRIMARY (NOT AVAILABLE)
Serial Range 1000001 - 9999999
Ref No 8
Part Number 16570-ZE8-000
Description CONTROL ASSY.
Serial Range 1000001 - 1004621
Ref No 8
Part Number 16570-ZE8-010
Description CONTROL ASSY.
Serial Range 1004622 - 1100008
Ref No 8
Part Number 16570-ZE8-810
Description CONTROL ASSY.
Serial Range 1100009 - 9999999
Ref No 9
Part Number 16575-ZE8-000
Description LEVER, CHOKE JOINT (NOT AVAILABLE)
Serial Range 1000001 - 9999999
Ref No 10
Part Number 16576-891-000
Description HOLDER, CABLE
Serial Range 1000001 - 9999999
Qty
Price $5.08
Add To Cart
Ref No 11
Part Number 16584-883-300
Description SPRING, CONTROL ADJUSTING
Serial Range 1000001 - 9999999
Qty
Price $5.00
Add To Cart
Ref No 12
Part Number 16592-732-700
Description SPRING, CABLE RETURN
Serial Range 1035016 - 9999999
Qty
Price $5.00
Add To Cart
Ref No 12
Part Number 16592-883-310
Description SPRING, CABLE RETURN
Serial Range 1000001 - 1004621
Qty
Price $3.34
Add To Cart
Ref No 12
Part Number 16592-ZE1-810
Description SPRING, CABLE RETURN
Serial Range 1004622 - 1035015
Qty
Price $2.24
Add To Cart
Ref No 14
Part Number 35330-ZG1-751
Description SWITCH ASSY., ENGINE
Serial Range 1004622 - 9999999
Qty
Price $22.96
Add To Cart
Ref No 16
Part Number 36100-ZE8-003
Description SWITCH ASSY., ENGINE STOP
Serial Range 1000001 - 9999999
Qty
Price $28.08
Add To Cart
Ref No 21
Part Number 90013-883-000
Description BOLT, FLANGE (6X12) (CT200)
Serial Range 1000001 - 9999999
Ref No 22
Part Number 90015-ZE5-010
Description BOLT, GOVERNOR ARM
Serial Range 1000001 - 9999999
Qty
Price $3.16
Add To Cart
Ref No 23
Part Number 90015-ZE8-000
Description BOLT, FLANGE (6MM)
Serial Range 1000001 - 9999999
Qty
Price $2.90
Add To Cart
Ref No 26
Part Number 92301-05016-0A
Description BOLT, RECESSED (5X16)
Serial Range 1000001 - 9999999
Qty
Price $1.52
Add To Cart
Ref No 26
Part Number 92301-05016-0A
Description BOLT, RECESSED (5X16)
Serial Range 1000001 - 9999999
Qty
Price $1.52
Add To Cart
Ref No 27
Part Number 93500-04014-0A
Description SCREW, PAN (4X14)
Serial Range 1000001 - 9999999
Qty
Price $1.04
Add To Cart
Ref No 28
Part Number 93500-05020-0A
Description SCREW, PAN (5X20)
Serial Range 1000001 - 9999999
Qty
Price $1.04
Add To Cart
Ref No 29
Part Number 94050-06000
Description NUT, FLANGE (6MM)
Serial Range 1000001 - 9999999
Ref No 30
Part Number 94101-06800
Description WASHER, PLAIN (6MM)
Serial Range 1000001 - 9999999
Qty
Price $0.82
Add To Cart
Ref No 31
Part Number 94111-04000
Description WASHER, SPRING (4MM)
Serial Range 1000001 - 9999999
Qty
Price $1.34
Add To Cart
Ref No 32
Part Number 94111-05000
Description WASHER, SPRING (5MM)
Serial Range 1000001 - 9999999
Qty
Price $1.42
Add To Cart